当前位置: 家居加盟宝 > 行业资讯 > > 正文

水性科天6周年,如何打烂一手好牌?

时间:2021-07-09 16:00:25 类型:全屋定制 浏览量:

2021年7月8日,恰是水性科天品牌正式发布6周年纪念日,但无论是水性科天内部还是外部舆论都显得格外静悄悄。

这6年时间里,水性科天从大手笔投资布局、巨资请代言人、广告满天飞、前景被吹上天,到如今的低调沉寂,甚至“卖‘套’求生”,艰难自救,期间还伴随着欠款、欠薪,疑似资金链断裂。

图片

头图说明:2015年7月8日,水性科天在“水立方”举行盛大的品牌发布会,拉开了一段短暂而风光的品牌发展史。然而“三年河东,三年河西”,6年后再次回望,水性科天的发展早已失去昔日的色彩,显得“暗淡”(图片经编辑处理)

6年前的疯狂与今天的“落寞”无疑形成剧烈反差。推崇“无毒家装”的水性科天,何以如此大起大落?它还有重拾野心、重振雄风的机会吗?

2001年4月,合肥市科天化工有限公司(简称合肥科天)宣告成立,注册资本为2500万元,法人代表和大股东(802.5万元占据合肥科天32.1%的股份)为戴家兵,就是水性科天的品牌创始人。

合肥科天的经营范围包括化工技术转让,化工产品(除化学危险品)研制、生产、销售,装饰工程设计、施工,技术服务、技术咨询等。综合网络上的介绍,其主要业务为为皮革企业提供上游原材料水性树脂的研发与生产。这些都与拥有博士头衔的戴家兵的学术研究方向紧密契合。

图片

天眼查关于合肥科天的页面截图

除了皮革产品的上游原材料,合肥科天还涉及涂料产品的研发,主要核心产品为水性聚氨酯家具漆、装修漆,但并未能帮助在涂料行业树立起品牌形象。“在水性涂料还没有得到更大的政策支持的时期,合肥科天并没能在汹涌的涂料营销大潮中赢得普遍关注。”

但是无疑这些都为戴家兵完成了原始积累,为他日后开始践行大规模拓展水性科技事业的“野心”增添了注力与底气。

经过几年的稳定发展,2013年前后,“追逐梦想”的戴家兵疑似追随某位高官的足迹,从合肥西迁兰州,一到兰州便获得了绝佳资源,撬动海量资本。

“西迁”也为水性科天大规模建厂、做品牌包装、产品营销奠定基础(仅在品牌包装上就耗资数亿),产品领域不再局限于水性皮革,还包括水性涂料、人造板等,甚至跨界房地产、健康产业(水性聚氨酯避孕套)等。

图片

2015年在品牌发布会上,戴家兵(左)与姚明(右)握手

就拿水性科天全国个水性科技产业园——兰州科天水性科技产业园——来说,其号称耗资80亿元建立;2015年7月8日,水性科天更是携手姚明,在北京水立方举办“水性科天”品牌发布会,正式向全国消费者和家装、家具材料行业普及水性高分子材料。

图片

这让水性科天一炮而红,正式以无毒家装、家具材料行业的扛旗者的姿态出现在大众面前。

前方有贵人开路,后方有强大产品线以及核心技术作为后盾,水性科天可谓手握着一副好牌。那时候,水性科天的广告满天飞,经销商热情高涨,风光无限。

图片

2016年12月24日,南宁科天项目正式开工建设(图源见水印)

此后水性科天又在广西展开布局,想着在南宁复制一个“兰州奇迹”。2016年5月9日,水性科天与广西-东盟经开区签署广西科天水性科技产业园项目协议,拟建设第二个水性科技产业园,总投资达60亿元,包括集研发、生产和营销为一体的水性聚氨酯树脂、水性木工板、水性生态板、水性木地板、水性超细纤维合成革、水性涂料、水性密度板、水性刨花板、水性避孕套等9个产品线。

但现在,“南宁科天”的发展也明显失去了当初的速度,各方面的投资看上去变得小心谨慎。此为后话。

水性科天的光鲜是建立在“危险的关系”之上的,风险系数很大。伴随着某位西迁高官的东窗事发,水性科天“巧合”地牵涉其中。
失去“靠山”的水性科天也就失去了输血通道(债务暴露),盘子摊得太大此时成为它的掣肘,危机四伏,终能够存活下来已是奇迹。

图片

合肥水性科天众宜家具有限公司讨薪现场

2019年,《涂料经》“聚焦水性科天‘欠薪门’事件”一文中,就曾揭露了水性科天集团旗下全国多个子公司如“合肥科天众宜家具有限公司”、“合肥水性科天营销中心”等深陷欠薪风波,拖欠员工工资薪达百万元之多,涉及上百个家庭。

图片

在天眼查中戴家兵周边风险页面截图,水性科天集团多家子公司陷入危机。

目前水性科天旗下多家子公司均未能幸免于难,或为失信被执行人、经营异常;或被限制消费令,共涉法律诉讼百余宗,堪称“劣迹斑斑”。其中,兰州科天环保节能科技有限公司、兰州科天水性科技有限公司是高人民法院公司的失信公司;兰州科天投资控股股份有限公司被法院列为限制高消费企业;兰州中科房地产开发有限公司、兰州科天水性高分子材料有限公司被列入企业经营异常名录。

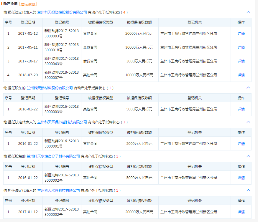
图片

根据公开信息显示,水性科天共进行有动产处于抵押7.8亿。

天眼查信息显示,目前,戴家兵的关联风险高达99条,大部分都是来自水性科天旗下公司主体。数据显示,被执行限制消费令34条,新立案为去年11月,数十次陷入借贷纠纷被他人或公司起诉。身为被告人/被上诉人的戴家兵涉及金额高达6.8亿元。

水性科天的背后资金窟窿并非近两年才出现,且早显端倪:在2016年-2018年这三年间,水性科天共进行有动产处于抵押7.8亿。这都直接印证了水性科天正遭遇债务危机,债台高筑——甚至现实可能远不止。

由于资金链绷紧,水性科天在南宁的投资(即为广西科天水性科技产业园项目)自然也因此受累,能够感受到明显的收缩投资,脚步放缓。据悉,该项目是在2016年12月24日开工建设,2018年6月1日,“南宁科天水性科技产业园无毒全屋定制家具投产庆典”举行,标志着南宁科天项目的部分投产。但此后便难以获取该项目的进展情况,直至——

图片

南宁科天对审计报告意见的回复

去年10月,水性科天官网“悄然”更新了一则信息——《南宁科天水性科技有限责任公司2020年度审计整改结果公示》。我们获知,南宁科天项目更是却遭到了南宁市审计局审计整改,理由是该项目存在未竣工验收即投入使用的问题。

在兰州迅猛发展的势头难以延续,南宁项目无疑成为它不容有失的“生存法宝”,“抢跑”投产,甚至比计划工期还提前了半年,一切便有可追溯的理由。

图片

水性科天“卖套求生”,能重现“无毒家装”昔日辉煌吗?

不过从近期水性科天的操作来看,算是喘过气来了,从“卖套求生”、分割非必要业务,重新聚焦“无毒家装”产业中看到水性科天想要逆转局面的想法。但无疑要想重返昔日辉煌也已不现实,至少在短期内不现实:水性科天的牌面已残败不堪,消费者、经销商都对其失去了大部分的信心。

后,套用中国网友对国足的那句评论,“留给水性科天的时间不多了”,对于如此激烈的市场环境,水性科天还能有多大的发展空间与未来,时间会给我们答案。

(文章来源:涂料经   侵删)

版权与免责声明:

凡注明稿件来源的内容均为转载稿或由企业用户注册发布,本网转载出于传递更多信息的目的,如转载稿涉及版权问题,请作者联系我们。


我想加盟全屋定制(已有740人加盟)

留下您的联系方式,我们马上为您服务

(必填)

考察品牌,加盟宝送补贴

了解更多品牌信息

招商加盟,轻松积累财富

品牌快速匹配 品牌招商区域查询

河北·石家庄·长安 181****8208 成功获取了预算

北京·北京·东城 136****4600 成功获取了预算

北京·北京·东城 139****8431 成功获取了预算

北京·北京·东城 166****5858 成功获取了预算

北京·北京·东城 139****5388 成功获取了预算

北京·北京·东城 138****0110 成功获取了预算

江苏·常州·天宁 186****1606 成功获取了预算

江苏·常州·天宁 158****0492 成功获取了预算

广东·汕尾·陆丰 131****8857 成功获取了预算

山东·枣庄·滕州 186****2867 成功获取了预算

陕西·西安·雁塔 132****1769 成功获取了预算

江苏·淮安·清江浦 180****3856 成功获取了预算

江苏·淮安·清江浦 180****3816 成功获取了预算

新疆·喀什·疏勒 155****0158 成功获取了预算

山东·德州·宁津 135****7966 成功获取了预算

江苏·无锡·江阴 159****2470 成功获取了预算

贵州·遵义·余庆 181****0119 成功获取了预算

云南·大理·宾川 183****1389 成功获取了预算

辽宁·大连·甘井子 159****8295 成功获取了预算

贵州·毕节·大方 152****5547 成功获取了预算

山西·朔州·朔城 139****8491 成功获取了预算

北京·北京·东城 134****6599 成功获取了预算

甘肃·兰州·城关 151****5290 成功获取了预算

湖北·武汉·江岸 150****3416 成功获取了预算

安徽·亳州·谯城 189****7818 成功获取了预算

山东·聊城·东昌府 159****5199 成功获取了预算

贵州·遵义·红花岗 153****8288 成功获取了预算

山东·烟台·芝罘 130****0082 成功获取了预算

福建·福州·鼓楼 182****7977 成功获取了预算

安徽·亳州·谯城 173****2527 成功获取了预算

热门品牌推荐
  • 掌上明珠家居

    掌上明珠家居
  • 玛格全屋定制

    玛格全屋定制
  • 凯度电器

    凯度电器
  • 欧派木门

    欧派木门
  • 大自然木门

    大自然木门
  • 尚品本色木门

    尚品本色木门
  • 鑫迪木门

    鑫迪木门
  • 帝王洁具

    帝王洁具
  • 欧迪克门窗

    欧迪克门窗
  • 欧必德集成热水器

    欧必德集成热水器
  • 佰丽爱家全屋定制

    佰丽爱家全屋定制
  • 掌上明珠家居

    掌上明珠家居
  • 玛格全屋定制

    玛格全屋定制
  • 凯度电器

    凯度电器
  • 欧派木门

    欧派木门
  • 大自然木门

    大自然木门
  • 尚品本色木门

    尚品本色木门
  • 鑫迪木门

    鑫迪木门
  • 帝王洁具

    帝王洁具
  • 欧迪克门窗

    欧迪克门窗
  • 欧必德集成热水器

    欧必德集成热水器
  • 佰丽爱家全屋定制

    佰丽爱家全屋定制